WeChat: 13860435534 Home InSite Search About Us Contact Us
 
  Mimpex@RPM
Google
www www.mouldimpex.com Sitemap
Chinese Version Contact with Pimpex@RPM, China
Mimpex@RPM - Xiamen RPM Imp.&Exp. Co.Ltd.


Mimpex@RPM
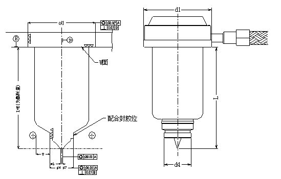
could supply hot nozzles as spare parts of hot runner moulds.

    We could supply different hot nozzles for hot runner system, such as CC pinpoint gate, CA plane pinpoint gate, OA edge gate, CB enlarged pinpoint gate, VV pin valve gate, CCB newly modified hot nozzles, etc.

Our hot nozzles have below characteristics:

  • Stable & reliable daily operations
  • Easy maintainance
  • CCB improved type hot nozzles have better leakage protection
  • Different gate types for choices according to different products
  • Perfect gate quality of pin valve type pouring nozzle/sprue
  • Good heat exchange performance of Italy origin heaters

Spreader Plate/Manifolds

  • Our spreader plate adopts outer heating mode, there are European origin radiation pipes installed both at two sides of spreader plate, thus radiation pipes could fully touch spreader plate to insure balance heating. The temperatures of spreader plate are distributing uniformity. It is easy to maintain such spreader plate.
  • Our engineers will make computer simulation of mold-flow before designing such spreader plate. Such design works gain perfect hydromechanics balance of the flows of spreader plate's gates.
  • Our spreader plate adopts international namebrand stainless materials to insure wear well & long life.
  • Our spreader plate systems have "1, 2, 3, 4, 6, 8, 12, 16, 24, 32, etc" discharging gate systems to meet with different clients' requirements on differents products. Our engineers also could design special spreader plate system such as stacking layer mould, etc.


Hot Nozzle of Mould' Hot Runner
-

Special Hot Runner System
-

Manual Laser Mould Repair
Cold Welding Machine

Hot Runner Mould
Hot Spreader Plate/Manifolds
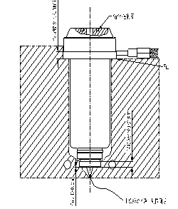
Installation Sketch Map

Hot Runner Mould
-
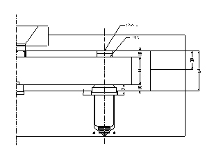
Machining Sketch Map

Hot Runner Mould
Needle Valve
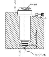
Installation Sketch Map

Hot Runner Mould
Valve System Components
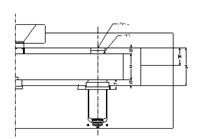
Installation Sketch Map
 
Minimum Contact Area
Between Hot Injection Nozzle
And Hot Runner Mould

Hot Nozzles of Hot Runner Moulds


Hot Runner Mould
Hot Nozzle
1MB16033CAB

Hot Runner Mould
Hot Nozzle
1MB16033CCB

Hot Runner Mould
Hot Nozzle
1MB16038OAB

Hot Runner Mould
Hot Nozzle
1MB16053CAB

Hot Runner Mould
Hot Nozzle
1MB16053CCB

Hot Runner Mould
Hot Nozzle
1MB16058OAB

Hot Runner Mould
Hot Nozzle
1MB16083CAB

Hot Runner Mould
Hot Nozzle
1MB16083CCB

Hot Runner Mould
Hot Nozzle
1MB16088OAB

Hot Runner Mould
Hot Nozzle
1MB16113CAB

Hot Runner Mould
Hot Nozzle
1MB16113CCB

Hot Runner Mould
Hot Nozzle
1MB16118OAB

Hot Runner Mould
Hot Nozzle
1MB19045CAB

Hot Runner Mould
Hot Nozzle
1MB19045CCB

Hot Runner Mould
Hot Nozzle
1MB19050OAB

Hot Runner Mould
Hot Nozzle
1MB19065CAB

Hot Runner Mould
Hot Nozzle
1MB19065CCB

Hot Runner Mould
Hot Nozzle
1MB19070OAB

Hot Runner Mould
Hot Nozzle
1MB19095CAB

Hot Runner Mould
Hot Nozzle
1MB19095CCB

Hot Runner Mould
Hot Nozzle
1MB19100OAB

Hot Runner Mould
Hot Nozzle
1MB19125CAB

Hot Runner Mould
Hot Nozzle
1MB19125CCB

Hot Runner Mould
Hot Nozzle
1MB19130OAB

Hot Runner Mould
Hot Nozzle
1MB22066CAB

Hot Runner Mould
Hot Nozzle
1MB22066CCB

Hot Runner Mould
Hot Nozzle
1MB22071OAB

Hot Runner Mould
Hot Nozzle
1MB22096CAB

Hot Runner Mould
Hot Nozzle
1MB22096CCB

Hot Runner Mould
Hot Nozzle
1MB22101OAB

Hot Runner Mould
Hot Nozzle
1MB22126CAB

Hot Runner Mould
Hot Nozzle
1MB22126CCB

Hot Runner Mould
Hot Nozzle
1MB22131OAB

Hot Runner Mould
Hot Nozzle
1MB22156CAB

Hot Runner Mould
Hot Nozzle
1MB22156CCB

Hot Runner Mould
Hot Nozzle
1MB22161OAB

Hot Runner Mould
Hot Nozzle
1MB27087CAB

Hot Runner Mould
Hot Nozzle
1MB27087CCB

Hot Runner Mould
Hot Nozzle
1MB27092OAB

Hot Runner Mould
Hot Nozzle
1MB27137CAB

Hot Runner Mould
Hot Nozzle
1MB27137CCB

Hot Runner Mould
Hot Nozzle
1MB27142OAB

Hot Runner Mould
Hot Nozzle
1MB27187CAB

Hot Runner Mould
Hot Nozzle
1MB27187CCB

Hot Runner Mould
Hot Nozzle
1MB27192OAB

Hot Runner Mould
Hot Nozzle
1MB27237CAB

Hot Runner Mould
Hot Nozzle
1MB27237CCB

Hot Runner Mould
Hot Nozzle
1MB27242OAB

Hot Runner Mould
Hot Nozzle
1MB33117CAB

Hot Runner Mould
Hot Nozzle
1MB33117CCB

Hot Runner Mould
Hot Nozzle
1MB33122OAB

Hot Runner Mould
Hot Nozzle
1MB33167CAB

Hot Runner Mould
Hot Nozzle
1MB33167CCB

Hot Runner Mould
Hot Nozzle
1MB33172OAB

Hot Runner Mould
Hot Nozzle
1MB33217CAB

Hot Runner Mould
Hot Nozzle
1MB33217CCB

Hot Runner Mould
Hot Nozzle
1MB33222OAB

Hot Runner Mould
Hot Nozzle
1MB33267CAB

Hot Runner Mould
Hot Nozzle
1MB33267CCB

Hot Runner Mould
Hot Nozzle
1MB33272OAB

Hot Runner Mould
Hot Nozzle
2MTMO16OA036

Hot Runner Mould
Hot Nozzle
2MTMO16OA056

Hot Runner Mould
Hot Nozzle
2MTMO16OA086

Hot Runner Mould
Hot Nozzle
2MTMO16OA116

Hot Runner Mould
Hot Nozzle
2MTMO19OA046

Hot Runner Mould
Hot Nozzle
2MTMO19OA066

Hot Runner Mould
Hot Nozzle
2MTMO19OA096

Hot Runner Mould
Hot Nozzle
2MTMO19OA126

Hot Runner Mould
Hot Nozzle
2MTMO22OA056

Hot Runner Mould
Hot Nozzle
2MTMO22OA086

Hot Runner Mould
Hot Nozzle
2MTMO22OA116

Hot Runner Mould
Hot Nozzle
2MTMO22OA146

Hot Runner Mould
Hot Nozzle
2MTMO27OA075

Hot Runner Mould
Hot Nozzle
2MTMO27OA125

Hot Runner Mould
Hot Nozzle
2MTMO27OA175

Hot Runner Mould
Hot Nozzle
2MTMO27OA225

Hot Runner Mould
Hot Nozzle
2MTMT16CA036

Hot Runner Mould
Hot Nozzle
2MTMT16CA056

Hot Runner Mould
Hot Nozzle
2MTMT16CA086

Hot Runner Mould
Hot Nozzle
2MTMT16CA116

Hot Runner Mould
Hot Nozzle
2MTMT16CC036

Hot Runner Mould
Hot Nozzle
2MTMT16CC056

Hot Runner Mould
Hot Nozzle
2MTMT16CC086

Hot Runner Mould
Hot Nozzle
2MTMT16CC116

Hot Runner Mould
Hot Nozzle
2MTMT16VB036

Hot Runner Mould
Hot Nozzle
2MTMT16VV036

Hot Runner Mould
Hot Nozzle
2MTMT19CA046

Hot Runner Mould
Hot Nozzle
2MTMT19CA066

Hot Runner Mould
Hot Nozzle
2MTMT19CA096

Hot Runner Mould
Hot Nozzle
2MTMT19CA126

Hot Runner Mould
Hot Nozzle
2MTMT19CC046

Hot Runner Mould
Hot Nozzle
2MTMT19CC066

Hot Runner Mould
Hot Nozzle
2MTMT19CC096

Hot Runner Mould
Hot Nozzle
2MTMT19CC126

Hot Runner Mould
Hot Nozzle
2MTMT19VB046

Hot Runner Mould
Hot Nozzle
2MTMT19VV046

Hot Runner Mould
Hot Nozzle
2MTMT22CA056

Hot Runner Mould
Hot Nozzle
2MTMT22CA086

Hot Runner Mould
Hot Nozzle
2MTMT22CA116

Hot Runner Mould
Hot Nozzle
2MTMT22CA146

Hot Runner Mould
Hot Nozzle
2MTMT22CC056

Hot Runner Mould
Hot Nozzle
2MTMT22CC086

Hot Runner Mould
Hot Nozzle
2MTMT22CC116

Hot Runner Mould
Hot Nozzle
2MTMT22CC146

Hot Runner Mould
Hot Nozzle
2MTMT27CA075

Hot Runner Mould
Hot Nozzle
2MTMT27CA125

Hot Runner Mould
Hot Nozzle
2MTMT27CA175

Hot Runner Mould
Hot Nozzle
2MTMT27CA225

Hot Runner Mould
Hot Nozzle
2MTMT27CC075

Hot Runner Mould
Hot Nozzle
2MTMT27CC125

Hot Runner Mould
Hot Nozzle
2MTMT27CC175

Hot Runner Mould
Hot Nozzle
2MTMT27CC225

Hot Runner Mould
Hot Nozzle
2MTMT27VB075

Hot Runner Mould
Hot Nozzle
2MTMT27VV075

Hot Runner Mould
Hot Nozzle
2MTMT33CA100

Hot Runner Mould
Hot Nozzle
2MTMT33CA150

Hot Runner Mould
Hot Nozzle
2MTMT33CA200

Hot Runner Mould
Hot Nozzle
2MTMT33CA250

Hot Runner Mould
Hot Nozzle
2MTMT33CC100

Hot Runner Mould
Hot Nozzle
2MTMT33CC150

Hot Runner Mould
Hot Nozzle
2MTMT33CC200

Hot Runner Mould
Hot Nozzle
2MTMT33CC250

Hot Runner Mould
Hot Nozzle
2MTMT33OA105

Hot Runner Mould
Hot Nozzle
2MTMT33OA155

Hot Runner Mould
Hot Nozzle
2MTMT33OA205

Hot Runner Mould
Hot Nozzle
2MTMT33OA255

Hot Runner Mould
Hot Nozzle
2MTMT33VB100

Hot Runner Mould
Hot Nozzle
2MTMT33VV100

Hot Runner Mould
Hot Nozzle
2MTMT33VV150

Hot Runner Mould
Hot Nozzle
2MTMT33VV200

Hot Runner Mould
Hot Nozzle
2MTMT33VV250

Hot Runner Mould
Hot Nozzle
2MTMTM16VB056

Hot Runner Mould
Hot Nozzle
2MTMTM16VB086

Hot Runner Mould
Hot Nozzle
2MTMTM16VB116

Hot Runner Mould
Hot Nozzle
2MTMTM16VV056

Hot Runner Mould
Hot Nozzle
2MTMTM16VV086

Hot Runner Mould
Hot Nozzle
2MTMTM16VV116

Hot Runner Mould
Hot Nozzle
2MTMTM19VB066

Hot Runner Mould
Hot Nozzle
2MTMTM19VB096

Hot Runner Mould
Hot Nozzle
2MTMTM19VB126

Hot Runner Mould
Hot Nozzle
2MTMTM19VV066

Hot Runner Mould
Hot Nozzle
2MTMTM19VV096

Hot Runner Mould
Hot Nozzle
2MTMTM19VV126

Hot Runner Mould
Hot Nozzle
2MTMTM22VB056

Hot Runner Mould
Hot Nozzle
2MTMTM22VB086

Hot Runner Mould
Hot Nozzle
2MTMTM22VB116

Hot Runner Mould
Hot Nozzle
2MTMTM22VB146

Hot Runner Mould
Hot Nozzle
2MTMTM22VV056

Hot Runner Mould
Hot Nozzle
2MTMTM22VV086

Hot Runner Mould
Hot Nozzle
2MTMTM22VV116

Hot Runner Mould
Hot Nozzle
2MTMTM22VV146

Hot Runner Mould
Hot Nozzle
2MTMTM27VB125

Hot Runner Mould
Hot Nozzle
2MTMTM27VB175

Hot Runner Mould
Hot Nozzle
2MTMTM27VB225

Hot Runner Mould
Hot Nozzle
2MTMTM27VV125

Hot Runner Mould
Hot Nozzle
2MTMTM27VV175

Hot Runner Mould
Hot Nozzle
2MTMTM27VV225

Hot Runner Mould
Hot Nozzle
2MTMTM33VB150

Hot Runner Mould
Hot Nozzle
2MTMTM33VB200

Hot Runner Mould
Hot Nozzle
2MTMTM33VB250

Index of Mould Handbook



search engine by freefind advanced

  RPM - Rimpex - Logo RPM - Pimpex - Logo RPM - Mimpex - Logo Loowi artToys Logo 金宫门<sup>®</sup>美飨天下  
rubberimpex.com plasticimpex.com mouldimpex.com Loowi.com GoldenPalaceGate.com
  rubberplasticmould.com ibmmachine.com
moldimpex.com
iLoowi.com GoldenPalaceGate.cn  
rpm.mobi isbmmachine.com masks machines jindianmen.cn
wastetiresrecycle.com printing-machines.cn hot-stamping-machines.cn hot-stamping-machines.com logistics-forklifts.cn

Copyright © Mimpex@RPM Since 2002 www.mouldimpex.com Sitemap Xiamen RPM Imp.&Exp. Co.,Ltd.